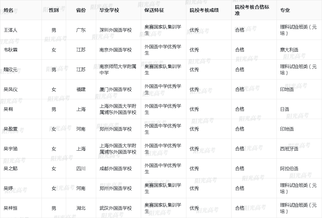
2025年5月6日,北京大学2025年外语类保送生拟录取名单在阳光高考公示,艾子琪、鲍馨仪等199人考试合格获得拟录取资格。北大保送名单分奥林匹克竞赛集训队119人、外国语中学优秀学生80人。易单招网小编整理了拟录取名单,一起来看看吧!




















微信识别二维码 关注官方公众号
易单招
微信账号:danzhaobang 复制
易单招合作热线
15996434567
周一至周日:9:00-21:00
2013-2026 易单招,All Rights Reserved.|苏ICP备18060098号-16 |
苏公网安备
50019002502480号
公司地址:南京市栖霞区栖霞街道广月路30-06号

报名咨询
官方微信
